Analog Devices Inc. ADIN1110 Low Power 10BASE-T1L Ethernet MAC-PHY

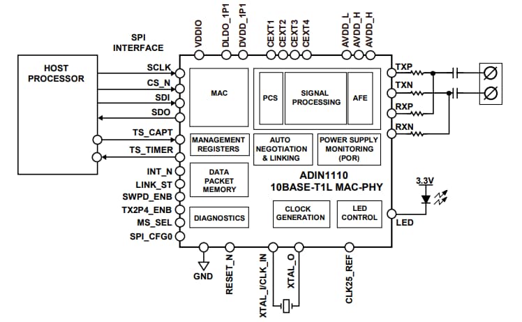
Analog Devices Inc. ADIN1110 Low Power 10BASE-T1L Ethernet MAC-PHY integrates an Ethernet PHY core with a MAC and all the associated analog circuitry, input and output clock buffering. The ADIN1110 features a single power supply rail of 1.8V or 3.3V and is designed for industrial Ethernet applications.

The Analog Devices ADIN1110 Low Power 10BASE-T1L Ethernet MAC-PHY provides programmable transmit levels, external termination resistors, and independent Rx/Tx pins, enabling the device for intrinsic safety applications. The ADIN1110 has integrated voltage supply monitoring and power-on reset circuitry to improve system-level robustness.

The Ethernet MAC-PHY offers a 4-wire SPI interface for communication between the MAC and host processor. The ADIN1110 is housed in a 6mm x 6mm 40-lead package.

Features

  • Auto-negotiation capability
  • Supports intrinsic safety applications
    • External termination resistors
    • Separate Rx/Tx pins
  • Integrated MAC with SPI interface
    • SPI interface supporting 10Mb/sec full duplex
    • Supports Open Alliance 10BASE-T1x MAC-PHY Serial
    • Interface
    • MDIO memory map accessible via SPI
    • On-chip FIFOs: 20kB receive, 8kB transmit
      • Cut-through or Store and forward operation
      • Rx high and low priority queues
    • IEEE 1588 timestamp support
    • Statistics counters
    • 16 MAC addresses supported for frame filtering
  • 10BASE-T1L IEEE® Std 802.3cg-2019TM compliant
  • Supports 1.0V pk-pk and 2.4V pk-pk transmit levels
  • Unmanaged configuration using pin strapping, including:
    • Master/Slave selection
    • Transmit amplitude
  • 25MHz crystal oscillator/25MHz external clock input
  • Single supply 1.8V/3.3V operation (mode dependent)
  • Cable Reach
    • 1700 meters+ with 1.0V pk-pk
    • 1700 meters+ with 2.4V pk-pk
  • Low power consumption – Dual supply 42mW typ
  • Link LED
  • Small package 40-lead (6mm x 6mm) LFCSP
  • Wide temperature range -40°C to +105°C

Applications

  • Process control
  • Factory automation
  • Building automation

Functional BLock Diagram

Block Diagram - Analog Devices Inc. ADIN1110 Low Power 10BASE-T1L Ethernet MAC-PHY

Article

How a 10BASE-T1L MAC-PHY Simplifies Low Power Processor Ethernet Connectivity

A 10 Mb Ethernet physical layer (10BASE-T1L) combined with power delivery (Engineered Power/PoDL/SPoE) on two wires, up to 1 km, will enable new types of Ethernet-connected devices that generate higher value insights that are now more accessible via a converted IT/OT Ethernet network.

Learn More

Designing a 10BASE-T1L Single-Pair Ethernet Condition Monitoring Vibration Sensor

This article discusses how to design a tiny, shared power and data interface (PoDL) for a CbM sensor including power supply design, mechanical design, MEMS sensor selection, and software for a complete sensor solution.

Learn More

Videos

Đã phát hành: 2021-03-22 | Đã cập nhật: 2025-03-04