Diodes Incorporated PI3EQX1002E & PI3EQX1004E USB3.1 Gen-2 ReDrivers™
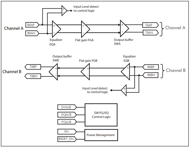
Diodes Incorporated PI3EQX1002E and PI3EQX1004E USB3.1 Gen-2 ReDrivers™ are low-power, high-performance, 1- and 2-port linear ReDrivers. The Diodes Incorporated PI3EQX1002E and PI3EQX1004E are designed for the USB 3.1 protocol. To optimize performance, the devices provide programmable equalization, swing, and flat gain. The devices support two 100Ω differential CML data I/Os between the protocol ASIC to a switch fabric, over cable, or to extend the signals across other distant data pathways on the user's platform.Features
- 5Gbps and 10Gbps serial link with linear equalizer
- USB3.1 and USB3.0 compatible
- Full compliance to USB3.1 Super Speed Standard
- Two and four 10Gbps differential signal pairs
- Pin adjustable receiver equalization
- Pin adjustable output linear swing
- Pin adjustable flat gain
- 100Ω differential CML I/Os
- Automatic receiver detect
- Auto "slumber" mode for adaptive power management
- Single supply voltage: 3.3V
- Patented technology
- Lead-free and RoHS-compliant
- Halogen and antimony free, "green" device
- Packaging: 24-pin, TQFN 2.5mm x 2.5mm (ZR24), and 34-pin, UQFN 2.5mm x 4.5mm
Đã phát hành: 2020-02-28
| Đã cập nhật: 2024-07-26
