Texas Instruments TPS7A25 LDO Linear Voltage Regulators
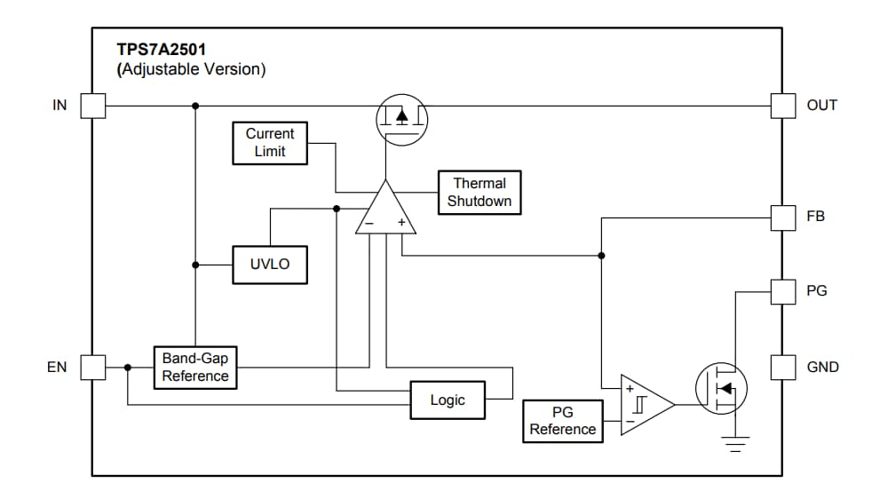
Texas Instruments TPS7A25 LDO Linear Voltage Regulators offer a very low quiescent current (IQ) and an input voltage range of 2.4V to 18V. The TPS7A25 Regulators provide features that allow modern appliances to meet increasingly rigorous energy requirements and help extend battery life in portable power solutions.The TPS7A25 has fixed and adjustable versions with 1% output regulation accuracy, providing precision regulation for microcontroller (MCU) references. The fixed-voltage version eliminates external resistors and minimizes the printed circuit board (PCB) area. The adjustable version uses feedback resistors to set the output voltage from 1.24V to 17.64V for more flexibility or higher output voltages.
The Texas Instruments TPS7A25 LDO has an efficient operation with a maximum dropout voltage of less than 360mV at 300mA current. The maximum dropout voltage allows for 92.5% efficiency from a 5.4V input voltage (VIN) to a 5.0V output voltage (VOUT). The power-good (PG) indicator can hold an MCU in reset until power is good or for sequencing. The PG pin has an open-drain output, allowing the pin to easily level-shift for monitoring by a rail other than VOUT. In the event of a load short or fault, the built-in current limit and thermal shutdown helps protect the regulator.
Features
- 2µA ultra-low IQ
- 2.4V to 18V input voltage
- Output voltage options available
- Fixed: 1.25V to 5V
- Adjustable: 1.24V to 17.64V
- 1% accuracy over temperature
- Low dropout: 340mV (max) at 300mA
- Open-drain, power-good output
- Thermal shutdown and overcurrent protection
- Active overshoot pulldown
- –40°C to +125°C operating junction temperature
- Stable with 1µF output capacitors
- 6-pin WSON package
Applications
- Home and building automation
- Multicell power banks
- Smart grid and metering
- Portable power tools
- Motor drives
- White goods
- Portable appliances
Typical Application Circuit
Block Diagram
